玻璃珠作为一种装饰品,是人类历史发展过程中的珍贵物质遗存,其体型虽小,但工艺复杂、材质昂贵,代表了当时先进的手工业技术水平和最具潮流的审美意趣,是古代人类文化的重要物质载体,亦是研究古代社会不可或缺的考古资料。近年来,随着新疆地区考古工作的不断开展,丝绸之路沿线遗址出土了大量玻璃制品,为研究东西方物质文化交流提供了有力证据。
阜康白杨河墓群位于新疆维吾尔自治区昌吉回族自治州阜康市上户沟哈萨克民族乡白杨河村,2016—2018年,为配合当地基本建设,新疆文物考古研究所对白杨河墓群进行了抢救性考古发掘,共发掘墓葬562座,出土各类文物千余件(组)。墓葬类型丰富,延续时间长,文化面貌复杂,年代早至青铜时代晚期,晚至唐宋时期,对建立、研究博格达山北麓地区考古文化序列、文化交流等具有重要价值。出土珠饰类文物有滑石珠、玛瑙珠、绿松石珠、玻璃珠、炭精珠等。其中玻璃珠所在墓葬测年为1148AD-1216AD,由于出土位置均为地表浅层,且墓葬土呈碱性,大部分玻璃珠表面皆已严重风化,外观难以辨识。本文为还原这批玻璃珠的原始面貌,探究其制作工艺与产地来源,利用成分分析和显微结构分析技术对玻璃珠进行科学测试,进而讨论样品玻璃珠所处时空背景下中国古代玻璃的区域化特征及不同文化间的交流情况,旨在为新疆地区古代玻璃研究提供新的证据。
白杨河墓地共出土9颗玻璃珠,以多色珠为主,兼有少量单色珠,形状多为球体、扁球体,其中XFB-36外观较为特殊,为心形〔图一〕。所有玻璃珠均存在不同程度的风化现象,总体保存状况较差,见[表一]。样品XFB-4、XFB-7、XFB-8、XFB-16风化严重,表面有凝结的硬质土块,与珠体结合紧密,疑似为沉积盐、土壤、玻璃风化产物及其他杂质的混合物;样品XFB-5、XFB-6、XFB-9风化程度较轻,可大致分辨出玻璃珠的基体和装饰部分;样品XFB-36和XFB-37风化程度最小,且均为单色珠。

图一 白杨河墓地出土玻璃珠照片
1. XFB-4 2. XFB-5 3. XFB-6 4. XFB-7 5. XFB-8 6. XFB-9 7. XFB-16 8. XFB-36 9. XFB-3
表一 白杨河墓地出土玻璃珠概况

1. 激光剥蚀等离子体原子发生光谱(简称LA-ICP-AES)
激光剥蚀电感耦合等离子体原子发射光谱采用美国NEW-WAVE公司生产的UP266-MARCO型激光剥蚀系统,以美国康宁玻璃博物馆生产的Coming-B、Coming-C和Coming-D作为标准样品,可对实验数据进行定量校正。实验条件为氩气流速:1.4 l/min,激光波长:266 nm,束斑直径:515 µm,输出能量:10±1 mJ。
2. 显微CT
显微CT是一种无损的3D成像技术,能够清晰地反映物体的内部结构,现已被广泛运用到考古领域。所用仪器为ZEISS Xradia 520 Versa,所测样品为XFB-5、XFB-9、XFB-16,具体参数详见[表二]。
表二 显微CT仪器参数

(一)LA-ICP-AES结果
白杨河墓地出土玻璃珠表面存在非常严重的风化现象,测试过程中,在不影响玻璃珠整体外观和安全的前提下,通过激光剥蚀系统对其风化层进行多次剥蚀,以获取不同深度相应的成分信息,并选取相对准确的数据进行分析,结果详见[表三]。
表三 白杨河出土玻璃珠LA-ICP-AES测试结果 (wt%)

XFB: 新疆阜康白杨河;JITI: 玻璃珠基体;BAI: 多色玻璃中的白色部分;HUANG: 多色玻璃中的黄色部分
根据[表三]的数据显示,样品XFB-36、XFB-37中Na2O含量为14%左右,CaO平均含量为7.362%;MgO和K2O均大于1.5%,Al2O3含量分别为2.291%和2.914%,属于典型的钠钙玻璃植物灰类型。其余玻璃珠样品的成分数据受风化影响,整体呈现出MgO含量较高,K2O、Na2O含量偏低的特点。此外,在一些多色玻璃珠(XFB-5、XFB-6、XFB-9、XFB-16)白色和黄色区域检测出高含量PbO和SnO2,其中PbO含量范围为3.1-39.2%,SnO2在1.3-14.0%之间,均存在较大波动,除与人工添加的乳浊剂有关外,PbO和SnO2的高检测数值,很可能与玻璃风化引起的相对含量升高有关。
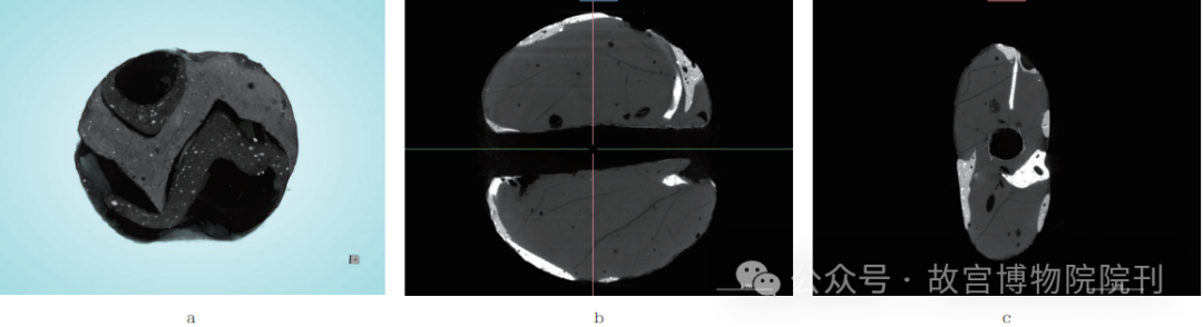
(二)显微CT结果
显微CT结果见〔图二至图四〕,分别为样品XFB-5、XFB-9、XFB-16的测试。可见,经长时间地下埋藏,白杨河墓地出土玻璃珠大部分表面有凝结的硬质土块,难以显现原始样貌。通过显微CT技术,重构其3D模型,可还原玻璃珠最初的形貌。在CT切片中,不同位置明暗程度不同,代表着化学成分有所差异,据此可分辨出玻璃珠基体与装饰部分。所测玻璃珠内部存在数量不等的不规则裂隙,进一步表明其风化的严重程度。此外,样品玻璃珠中留存有一定数量的气泡,形状各异,这为判别其制作工艺提供了科学依据。

图二 XFB-5显微CT测试结果
a为重构的3D模型 b、c为显微CT切片 其视角分别为正视和俯视

图三 XFB-16显微CT测试结果
a为重构的3D模型 b、c为显微CT切片 其视角分别为正视和俯视

图四 XFB-9显微CT测试结果
a为重构的3D模型 b、c为显微CT切片 其视角分别为正视和俯视
(一)玻璃珠化学特征及其来源
成分分析结果表明,样品XFB-36、XFB-37属于钠钙玻璃体系,以植物灰作助熔剂,K2O含量接近4%,中低含铝水平。为探讨其来源,将它们的成分数据与同时期其他地区玻璃作对比研究,结果如〔图五〕所示:

图五 样品玻璃珠主要成分数据分析图
样品数据与中亚地区发现的植物灰玻璃具有良好的重合度,表明这两颗玻璃珠很可能来自伊朗东部至中亚一带。此外,值得注意的是新疆也木勒遗址发现的同时期玻璃器残片,成分特点与白杨河遗址样品相似,说明两处遗址有可能是同一来源,进一步证实了宋元时期我国新疆地区在东西方文化交流中的重要地位。其余玻璃珠样品保存状况较差,数据受风化影响,玻璃中的碱金属、碱土金属元素大量流失,Na2O、CaO、K2O等含量偏低,引起PbO相对含量升高,故无法直接定义其成分类型,但一些特殊元素可以辅助作出大致判断。白杨河墓地出土多色玻璃珠中,不透明白色和黄色区域均检测出高含量SnO2和PbO,结合以往研究结果,推测其生产过程中很可能使用了乳浊剂。古代玻璃工匠常常通过人工添加乳浊剂的方式,获取不透明玻璃,从种类上看,西方主要有两种类型,即锡基乳浊剂和锑基乳浊剂,目前已知锡基乳浊剂最早出现于公元前8世纪至公元前7世纪的土耳其和波兰,公元前1-2世纪大量使用,大约在公元4世纪时,铅锡乳浊剂(黄色玻璃)被广泛用于地中海东岸,并成为玻璃制造的重要组成部分。早期伊斯兰时期(公元8世纪),铅锡氧化物继续被用于镶嵌玻璃中。公元9-10世纪,氧化锡(白色玻璃)在伊拉克和伊朗地区变得更为常用。一直以来,锑基乳浊剂和锡基乳浊剂并非国产玻璃常见的技术传统,因此,这批玻璃珠应该为域外舶来品。公元8-9世纪,西方传统的泡碱玻璃因受到资源短缺等诸多因素的影响,逐渐被植物灰玻璃所取代,在生产配方上有所变化,出现了一种MgO含量很高的植物灰玻璃—高镁植物灰玻璃(HMG),并且迅速流行于整个伊斯兰世界,西班牙的Murcia(公元12-13世纪早期),叙利亚Raqqa(公元8-12世纪)均发现了生产这种玻璃的作坊遗址。从成分数据看,白杨河墓地出土玻璃珠都具有高含量MgO的特点,除Na2O含量受风化影响差别较大外,其他主量元素与高镁植物灰玻璃相近。综合时代背景和成分信息,可初步推断风化严重的玻璃珠样品为高镁植物灰玻璃。
(二)玻璃珠制作工艺特点
判断古代玻璃珠制作工艺的主要依据之一是研究留存于其内的气泡形状,实验通过显微CT技术获取了样品玻璃珠内部结构的切片数据,基于此对白杨河出土部分玻璃珠的制作方法进行讨论。
由(见图二)可知,XFB-5珠体轮廓及内部气泡呈现规则的圆形,表明制作过程中未受过多的外力影响,推测应当使用了模压成型法。装饰使用的玻璃条与基体相接处较为平滑,说明玻璃条是在熔融状态下被粘贴于基体表面的。此外,玻璃条之间存在明显的相互“叠压”关系,下层玻璃条叠压于上层玻璃条,表明装饰玻璃珠时,古代工匠按照从一端至另一端的顺序依次粘贴玻璃条,进而得到了几何纹样。
由〔图三〕可知,XFB-16玻璃珠为不规则球状,其内部气泡呈现两种形态:一种为规则圆形;一种近似为“蝌蚪”形。这种蝌蚪形气泡疑似是受到水平外力拉伸后发生形变的结果,很可能在生产过程中使用了“缠绕法”,遗憾的是,由于表面风化的缘故,无法观察到玻璃缠绕的横纹,具体结论有待进一步研究。
由〔图四〕可知,XFB-9玻璃珠整体为扁圆形,内含大量椭圆形气泡,且长半轴与珠体长轴一端保持平行,采用模压法制作而成,椭圆形气泡是受模具挤压后受力不均形成的,详见〔图六〕。此外,该玻璃珠的装饰部分采用了热玻璃条粘贴工艺,为了防止玻璃条脱落,古代工匠刻意将其局部嵌入珠体内部(如〔图四:b,图四:c〕所示)。

图六 XFB-9的3D还原模型图
(三)两宋时期中国玻璃的区域化特点及成因
白杨河墓地出土玻璃珠所在墓葬测年为1148AD-1216AD,与中原南宋时期相对应。考虑到玻璃珠的生产年代和使用年代要早于测年数据,因此,本文将讨论的时间范围扩展至两宋时期。近年来,我国新疆、内蒙古、河北、河南、陕西、辽宁等地发现了大量10-13世纪的玻璃制品,它们在成分、来源、功能上有着明显的地区性差异。
新疆地区两宋时期的玻璃制品主要以玻璃器为主,几乎不见玻璃珠,大部分出土于古城遗址中,因受到伊斯兰文化的强烈冲击,该地区人群对玻璃的使用趋于日常化、生活化。器形和成分特征表明,它们主要为伊斯兰玻璃。此外,也存在少量其他玻璃类型,如和田买俄甫尔麻扎遗址(唐宋时期)发现了一件白色透明玻璃器残片,成分测试结果表明它是典型的西方泡碱玻璃。公元8世纪晚期,泡碱资源枯竭,在环境、政治等诸多因素的共同影响下,泡碱玻璃逐渐被植物灰玻璃所替代,并于11世纪基本完成转变过程。因此,买俄甫尔麻扎遗址发现的泡碱玻璃很可能是前朝遗留之物。此外,新疆发现了一处宋元时期玻璃生产或加工的作坊遗址—若羌县瓦石峡遗址,考古工作人员在现场发现有大量玻璃器碎片及其废料,并在遗址西南部寻得一处残存的建筑遗存,这为当地玻璃使用的日常化提供了可能的证据。
不同于新疆,中原地区发现的两宋时期玻璃不仅数量多,而且种类丰富。既有玻璃珠,也有玻璃器,除墓葬外,很大一部分来源于佛寺塔基的地宫中,以透明的葫芦形舍利瓶和热塑的艺术玻璃最为典型。在功能上,可做装饰品和日常用品。此外,玻璃制品还与瘗埋制度有关,成为存放舍利、供奉舍利的重要器具。成分上以国产铅玻璃、钾铅玻璃为主,兼有西方来源的伊斯兰玻璃和南亚、东南亚地区的钾玻璃。
公元11世纪初,强大的辽国占据着中国北方。随着相关考古工作的不断开展,辽墓中出土了大量精美的玻璃制品,如陈国公主合葬墓、小王力沟墓等地出土的玻璃珠以及各种类型的玻璃器(如瓶、罐、盘等),它们具有明显的伊斯兰风格;同时,也发现了一些国产玻璃制品,如小喇嘛沟等出土的器物。通过梳理不难发现,这些辽代玻璃存在一个共性,即出土地点多同皇室、贵族有关,是当时上层阶级生活中的重要奢侈品。
综上所述,两宋时期不同地域、不同民族政权下,玻璃的主要化学成分类型、功能、来源有明显差别。究其原因主要有二:
第一,民族矛盾对丝路玻璃贸易的影响。公元960年,后周大将赵匡胤陈桥兵变,建立了北宋王朝,虽经多年征战,统一了岭南至黄河流域的广大地区,但在其西南、西北、东北仍有吐蕃、大理、西夏、辽等民族政权与之并峙而存。不同的历史阶段丝路的贸易状况有很大不同。宋辽战争下,存在两条丝路,草原路和河西路:西域诸国经草原路入贡于辽,通过河西路进贡于宋。西夏建国后,长期占据着河西走廊,控制着陆上丝绸之路的交通命脉,河西路大大受阻,无论是官方商队抑或是民间的贸易行为,都经常受到西夏军队的劫掠,因此,西域诸国主要通过青海道进贡于宋。青海道相比于河西走廊,道路崎岖不平,环境恶劣,而玻璃属于无机硅酸盐材料,由于自身特性,具有强度低、易碎等特点,尤其是使用吹制技术制作的玻璃器,器壁薄而脆,长距离运输所带来的不安全性大大增加。民族矛盾的制约,加之玻璃自身特性的影响,使得质量上乘的伊斯兰玻璃很难通过陆上丝绸之路传入中原地区。研究表明,中原地区发现的伊斯兰玻璃很可能主要通过海上丝绸之路传入,并且有相当一部分作为香料的附属品。在宋代的海上贸易和进口货物中,香料占有很大比重,尤其是当时产自阿拉伯地区的蔷薇水,它是古代的一种香水,最初进入中国是在五代时期,由南部藩国进贡而来。《宋史》载,“其国(占城国)前代罕与中国通,周显德中,其王释利因德漫遣其臣甫诃散贡方物,有云龙形通犀蒂菩萨石,又有蔷薇水洒衣经岁香不歇,猛火油得水愈炽,皆贮以溜璃瓶”。又见蔡倏《铁围山丛谈》记,“大食国蔷薇水虽贮琉璃缶中,蜡密封其外”,说明制作好的蔷薇水是被装进琉璃器中储存的。香文化历经千年,终在宋代达到鼎盛,其中蔷薇水的大量进口令相当数量的伊斯兰玻璃作为附属品传入中国。
由于辽夏之间关系总体平稳,草原路的贸易环境相对和平,稳定的环境促使两国之间有着较为频繁的贸易往来。据《契丹国志》记载:“高昌国、龟兹国、于阗国、大食国、小食国、甘州、沙州、凉州,以上诸国三年一次遣使,约四百人,至契丹贡玉、珠、犀、乳香、琥珀、卤沙、玛瑙器、宾铁兵器、斜合里皮、褐里丝、门得丝、帕里阿褐里丝,以上皆细毛织成,以二丈为匹。契丹回赐至少亦不下四十万贯。”反映了这一时期西域诸国与辽国之间的官方贡赐行为。总体而言,相比于宋夏,辽夏的和平关系为草原路迎来了繁盛,营造了和平稳定的贸易环境,这是伊斯兰玻璃能够大量传入辽国的主要原因。
第二,玻璃生产技术水平的影响。两宋时期,中原和新疆地区的玻璃制品已经走出皇室,走出贵族阶级,逐渐生活化。尤其在中原地区,玻璃制品成为了士大夫的藏品、女性的装饰品,抑或是观赏之物,甚至受瘗埋制度的影响,成为了宗教用品。玻璃对宋朝社会产生了举足轻重的影响,人们对玻璃产品的需求日益剧增,在复杂的政治环境下为满足社会需求,除了进口伊斯兰玻璃外,本土玻璃的生产尤为重要。从化学成分上看,这一时期,中原地区的玻璃种类丰富,国产玻璃主要有铅玻璃、钾铅玻璃,并在此基础上衍生出钾铝铅玻璃配方。此外,也有进口玻璃料在本土加工的现象。2012年,福建唐罗城遗址发现了宋代炼制玻璃的工具和大量光滑的暗红色块状玻璃残渣,经科学检测后发现,这些残渣的化学成分与伊朗出土的玻璃相近,很可能是宋代工匠将进口玻璃料加工成玻璃成品。市场在社会的供需矛盾中是不断变化的,国产玻璃制作技术的成熟,以及瓷器制造的高速发展,使得宋人在一定程度上减少了对域外伊斯兰玻璃的需求,虽然相比之下,伊斯兰玻璃质量更好,更为贵重,赵汝适称“琉璃出大食诸国,烧炼之法与中国同,其法用铅硝,石膏烧成。大食则添入南硼砂,故滋润不烈,最耐寒暑,宿水不坏,以此贵重于中国”,但对普通民众而言,价格及成本相对低廉的国产玻璃无疑是更好的选择。同时,出土的伊斯兰玻璃器中,有相当一部分是作为香料的附属品出现的,单纯的玻璃贸易相比以往并不频繁,这可能一定程度上受到了国产玻璃生产技术的影响。
尽管新疆和中原地区的玻璃制品在两宋时期逐渐趋于生活化,但彼此依靠的技术来源是有所不同的,对新疆地区而言,玻璃制品深受伊斯兰玻璃的影响,不仅成分体系相似、存在大量玻璃品贸易活动,而且出现了玻璃生产加工遗址。相比之下,建立起辽帝国的契丹人作为游牧民族,过着半农半牧的生活,手工业发展并不发达,没有成体系的玻璃生产,物品只能通过外来交换获得。虽然也可能存在小件玻璃饰品简单加工的现象,但目前的考古资料并未发现大规模生产玻璃的遗址。因此,造型精美的伊斯兰玻璃器就显得弥足珍贵,成为身份地位的象征,进而成为了贵族阶级使用的奢侈品,这也是许多辽代墓葬出土了大量伊斯兰玻璃的原因。
新疆阜康白杨河墓地出土的玻璃珠以多色珠为主,属于含高镁的钠钙玻璃植物灰类型(HMG),使用模压法、缠丝法制作玻璃珠基体,通过热玻璃条粘贴工艺对其进行不同风格的装饰。结合成分数据和工艺特点,初步认为这批玻璃珠很可能来自伊朗东北部或中亚地区,这一发现为新疆地区古代玻璃的研究提供了新的证据。
公元10-13世纪,宋夏之间的民族矛盾严重阻碍了陆上丝绸之路的发展,大夏长期占据着河西走廊,使得中原地区与西域诸国之间的联系大大减少。在这种大的政治背景下,加之各地区玻璃制作技术发展不平衡,使得中国境内的古代玻璃呈现明显的区域化特点。